In its current form, the PlayStation Move is a fantastic piece of hardware, and while it might still have a way to go on the software side, the controller itself is remarkably precise and responsive. However, your living room can become pretty cluttered with all the peripherals that are needed to play every title, especially with multiplayer – wouldn’t it be easier if your DualShock 3 and Move were the same controller?
Just as we uncovered a patent showing an incredibly feature-packed Move controller that never came to be, a newly published patent has revealed that Sony experimented with a Move-like add-on for the DualShock 3 – something that would likely have saved on the cost of the device, as well as on the space it took up.
Originally filed back in 2006, and recently published, it’s rather unlikely we’ll ever end up seeing the “DualMove” (our name for it) in the wild, although parts of the concept could possibly be used in the PlayStation 4 as Sony will likely continue pushing motion controls for their next console along with the traditional DualShock.
The patent, called “System and method for interfacing with a computer program” shows several different iterations of the controller combo, such as the clip on Move controller.
Figures 11A and 11B illustrate examples of an interface object connected to a controller, which may be used to interface with a computer program, in accordance with one embodiment of the invention.

In addition to the main concept shown above, the patent also pictures numerous other designs for a DualMove, with some including several Move globes, and one even having a flexible connection. To make it easier, we’ve compiled them into one image:

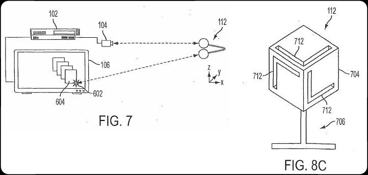
But how would the DualMove be used? The patent shows someone using the controller in connection with a PlayStation Eye or similar camera:

The patent also revealed some other interesting tidbits, like that the Move controller could have had a cube instead of an orb, or could have had two different orbs:

It is important to note that patent artist’s renditions are often exaggerated in size, so the Move orbs could well have been smaller. Either way, the designs do look rather cumbersome and we’re certainly glad that Sony decided on the standalone Move controller.
Would you have preferred the more compact DualMove, or are you pleased with the Move as it is? Let us know in the comments below.
